Generating thumbnails...
Image Gallery
π Home
Folders
π
2013 Fish
π
Advantech EBC-AC04
π
ALIX.2D3
π
Anritsu ME645A
π
ARK-1123
π
ARK-1380
π
Atronics CR-101
π
Ayantra Modem
π
Ball Efratom FRS-C
π
BeBox
π
BeigeG3 MT
π
BoCo C41
π
Campbell Scientific RF232
π
colorSlab
π
Compaq Evo W8000
π
DataRadio
π
DataSilo
π
Dell Edge Gateway 3002
π
DM41X
π
EFHW XFMR 2023-12
π
G4 minis
π
GNSS
π
Green CII
π
HGST SAS SSD
π
IBM 3AT
π
IIIIssii_LC
π
Ikegami CT-20A
π
iMac11,3 2nd SATA Power
π
Laptops
π
Linksys WET11
π
macIcons
π
Meca 804-S-1-900-M01
π
Meru MC-1500
π
monoSlab
π
more_TimeHats
π
MultiModem MT5600BA
π
NCS Lunch Terminal 2
π
Newton OMP
π
PAKRATT PK-232MBX
π
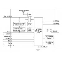
Pi MT3339
π
Portwell NANO-6050
π
Poweredge T420
π
Presario AIO
π
PS2 Model25
π
QS PSU Swap
π
Quadra800
π
Quicksilver
π
R710 Adventure
π
Radios
π
Roof_Antenna
π
Teltone TLS-5
π
Test Equipment
π
Vintage First Aid Kit
π
VMEBus Cage
π
wallpapers
π
xserves
Images
3D_thermal.png
755_SCSI.JPG
7410_split_bug.jpeg
8500-Longbriar-FloorPlan.jpg
54502A_Attenuator.png
AEKI_AEKII.jpg
Aesthetic.jpg
AluBook_RAM.png
Apple_CD_150_SCSI2SD.png
Apple_CD_300i_Plus_SCSI2SD.png
AtomicPi_5Ghz_Antennas.jpg
autotag.png
badScreens.JPG
betterbestserver.png
Blursed_NeXT.jpg
BnW_Cinema.jpg
BnW_Explosion.jpg
cargo_sticker.jpg
CF-C33.png
chair_maintenance.jpg
cleaner_AEK.jpg
cob_cors_gps500.jpg
colorslab_v6.jpg
Daydream_Derp.jpg
Desk-20201018.jpg
Desk_20200616.jpg
dimage_dual_scan.jpg
dimage_dual_scan_cozie.jpg
DirtyMonitor.jpg
dirty_AEK.jpg
dutchbaby.jpg
entropy.jpg
frotto_cam.jpg
Fuzzball 6115CD.jpg
G3_desk1.jpg
goose_game.png
gqrx_backwards.png
greenMac.jpg
Green_CII.jpg
hacking4dummies.jpg
harpoons_migrating_south.jpg
home_office_2020-07.jpg
iBook_Handle_Cracks.jpg
iMacMarco.jpg
IMG_1156.png
jennay_disks.png
katyaStretch.jpg
Laser_Error.jpg
Leopard2000.png
LeopardXP.png
LettuceKitty.jpg
lettuce_xp.jpg
Lil_SCSI.jpg
Loafers.jpg
MacDesk_20201109.png
marcoTime.jpg
MarcoTop.jpg
mess-o-USB.jpg
MH2_4k_wall.png
MiniDIN8-DB25.png
miniPCIe-ATGM336H5N.png
MT339_block.jpg
Network-Sessions_Per_Minute-08.05.2020-1338.png
New-New-Gotschland-Map.PNG
NeXT_Bros.jpg
NeXT_MegaPixel_17_color_cage.jpg
NeXT_Mouse_Connection.jpg
NeXT_SCSI.png
office_20200504.JPG
oldworkdesk.jpg
optimizing4speed.jpg
OSXServerAdmin.png
outdoor-GMS-TMG-26N.jpg
Parcel_Locker_1.jpg
Parcel_Locker_2.jpg
PCI_SATAvIDE_SATA.png
peakHomelab.JPG
pipettes.png
PMU_warning.png
powerbook5,9_RAM.jpg
powercenter_back.jpg
powercenter_front.jpg
PPS_Divider.jpg
QS_Disks.png
Quadra800_Server.jpg
quicksilver_stickers.png
RAM_Stats.jpg
rs6000_XP.png
RT7D5JTW.jpg
RTC_Reset_uSD.jpg
sasha_portrait.jpg
SATA_Molex_Power.jpg
SBC Ping Performance.png
SCS1.jpg
SCSI2.jpg
SCSI2SDv6_Alignment.jpg
SCSI_Party.jpg
sleepyJane.jpg
speedtest_20200505.png
stupid_eBay_scam.png
SV8_BatteryCal.jpg
SV8_blow_out.JPG
sv8_charger_error.jpg
SV8_flatflex_connector.jpg
SV8_guts.jpg
T320_T420_butts.jpg
T320_T420_fronts.jpg
T7700_packaging.jpg
TB3_docking.jpg
TB3_Video_Fail.jpg
Terminal Border Issue.png
TheCloud.png
TheDome.jpg
TiBookLettuce.jpg
TiBook_PRAM.jpg
TiBook_Speaker_Test.jpg
TiBook_Thermal_Goop.jpg
u.fl-n.jpg
ULW_R61i.JPG
unknown_antenna_sweep.png
UV_Lucy.jpg
weighted_pacifica.jpg
WinXPPro.jpg
workdesk_20200504.JPG
xv70_canoe.jpg
Yucky_VL805.jpg
zany.jpeg
Π‘Π»Π°Π²Π°_ΡΠΎΠ²Π΅ΡΡΠΊΠΈΠΌ_Π°Π²ΠΈΠ°ΡΠΎΡΠ°ΠΌ.jpg
×
‹
›
1
/
128